Component Pre-Forming Machine — for vertical cutting

Model : MAP 301 V

Manual Forming for Taped Axials in Vertical Configuration

In PCB’s having high component density, the axial leaded components are formed in the vertical configuration. This model is useful for cutting and forming the leads of the axial leaded components in the vertical configuration. It is a manual machine operated through a crank handle. The axial leaded components coming in taped package, are fed into the machine through a set of tape guides provided. The leg length and the pitch are easy to adjust, enabling fast changeover.

Features
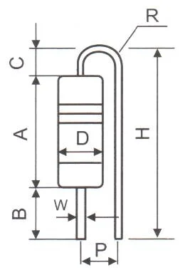
Dimensions in mm
A 4.0-18.0
B 2.5-10.0
C 3.0 min
D 1.5-8.0
W 0.35-1.0
P 2.5-13.5
H A+B+C
Yontro
SPECIFICATIONS
MODEL MAP-301V
Output 10000-18000 pcs/hr
Power --
Dimensions L-200 W-280 H-200 mm
Weight 5 Kg

Related Products

Yontro